
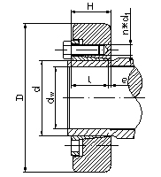
| 基 本 尺 寸 | 內六角螺釘 | 額定負荷 | 螺釘的擰 緊 力 矩 MA N·m | 重 量 kg | ||||||
| d | D | dn | l | H | e | d1 | 軸向力 F1 KN | 轉 矩 M1 KN·m | ||
| mm | ||||||||||
| 12 | 32 | 10 | 9 | 11 | 1 | M5×8 | 8 | 0.038 | 5 | 0.06 |
| 14 | 37 | 12 | 9 | 0.052 | 0.08 | |||||
| 16 | 41 | 14 | 12 | 15 | 1.5 | M5×12 | 13 | 0.090 | 0.12 | |
| 18 | 44 | 15 | 10 | 0.080 | ||||||
| 16 | 14 | 0.112 | ||||||||
| 20 | 47 | 17 | 16 | 0.140 | 0.15 | |||||
| 18 | 20 | 0.184 | ||||||||
| 24 | 50 | 19 | 14 | 18 | 2 | 17 | 0.160 | 0.2 | ||
| 20 | 20 | 0.200 | ||||||||
| 22 | 25 | 0.280 | ||||||||
| 30 | 60 | 24 | 16 | 20 | 23 | 0.28 | 0.3 | |||
| 25 | 25 | 0.32 | ||||||||
| 26 | 27 | 0.36 | ||||||||
| 36 | 72 | 28 | 18 | 22 | M6×16 | 37 | 0.55 | 12 | 0.4 | |
| 30 | 43 | 0.68 | ||||||||
| 31 | 46 | 0.74 | ||||||||
| 44 | 80 | 34 | 20 | 24 | 41 | 0.70 | 0.6 | |||
| 35 | 44 | 0.77 | ||||||||
| 36 | 47 | 0.85 | ||||||||
| 50 | 90 | 38 | 22 | 26 | 2.5 | 55 | 1.10 | 0.8 | ||
| 40 | 64 | 1.32 | ||||||||
| 42 | 72 | 1.54 | ||||||||
| 55 | 100 | 42 | 23 | 29 | 3 | 54 | 1.13 | 1.1 | ||
| 45 | 66 | 1.50 | ||||||||
| 48 | 77 | 1.85 | ||||||||
| 62 | 110 | 48 | 69 | 1.60 | 1.3 | |||||
| 50 | 77 | 1.92 | ||||||||
| 52 | 84 | 2.17 | ||||||||
| 68 | 115 | 50 | 73 | 1.80 | 1.4 | |||||
| 55 | 90 | 2.44 | ||||||||
| 60 | 103 | 3.10 | ||||||||
| 75 | 138 | 55 | 25 | 31 | 4 | M8×25 | 97 | 2.70 | 29 | 1.7 |
| 60 | 117 | 3.52 | ||||||||
| 65 | 133 | 4.30 | ||||||||
| 80 | 145 | 60 | 108 | 3.25 | 1.9 | |||||
| 65 | 121 | 3.97 | ||||||||
| 70 | 133 | 4.70 | ||||||||
| 90 (85,90) | 155 | 65 | 30 | 38 | 145 | 4.70 | 3.3 | |||
| 70 | 170 | 5.98 | ||||||||
| 75 | 190 | 7.20 | ||||||||
| 100 (95,100) | 170 | 70 | 34 | 43 | 170 | 5.91 | 4.7 | |||
| 75 | 200 | 7.42 | ||||||||
| 80 | 220 | 8.90 | ||||||||
| 110 (105,110) | 185 | 80 | 39 | 40 | 5 | M10×30 | 226 | 9.05 | 58 | 5.9 |
| 85 | 255 | 10.38 | ||||||||
| 90 | 280 | 12.60 | ||||||||
| 125 (120,125,130) | 215 | 90 | 42 | 53 | 5.5 | 280 | 12.85 | 8.3 | ||
| 95 | 315 | 14.98 | ||||||||
| 100 | 340 | 17.00 | ||||||||
| 140 (135,140) | 230 | 100 | 46 | 58 | 6 | M12×35 | 370 | 18.50 | 100 | 10 |
| 105 | 400 | 21.10 | ||||||||
| 110 | 431 | 23.70 | ||||||||
| 155 (155,160) | 263 | 110 | 50 | 62 | 440 | 24.0 | 15 | |||
| 115 | 473 | 27.0 | ||||||||
| 120 | 508 | 30.2 | ||||||||
| 165 (165,170) | 290 | 120 | 56 | 68 | 7 | M16×40 | 525 | 34.5 | 240 | 22 |
| 125 | 620 | 38.6 | ||||||||
| 130 | 660 | 42.8 | ||||||||
| 175 (175,180) | 300 | 130 | 8 | 650 | 42.0 | |||||
| 135 | 680 | 46.2 | ||||||||
| 140 | 720 | 50.6 | ||||||||
| 185 (185,190) | 330 | 140 | 71 | 85 | M16×40 | 870 | 61.0 | 240 | 37 | |
| 145 | 910 | 66.2 | ||||||||
| 150 | 960 | 71.7 | ||||||||
| 200 (195,200) | 350 | 150 | 1020 | 77 | 41 | |||||
| 155 | 1070 | 82.7 | ||||||||
| 160 | 1100 | 88.1 | ||||||||
| 220 (210,220) | 370 | 160 | 88 | 103 | 9 | M16×50 | 1210 | 97 | 54 | |
| 165 | 1270 | 105 | ||||||||
| 170 | 1335 | 113.5 | ||||||||
| 240 (230,240) | 405 | 170 | 92 | 107 | 10 | M20×60 | 1390 | 118 | 470 | 67 |
| 180 | 1515 | 136 | ||||||||
| 190 | 1630 | 154.8 | ||||||||
| 260 (250,260) | 430 | 190 | 103 | 119 | 1700 | 162 | 82 | |||
| 200 | 1820 | 182 | ||||||||
| 210 | 1930 | 202.8 | ||||||||
| 280 (270,280) | 460 | 210 | 114 | 132 | 2030 | 213 | 102 | |||
| 220 | 2150 | 240 | ||||||||
| 230 | 2330 | 269 | ||||||||
| 300 (290,300) | 485 | 230 | 122 | 140 | 2280 | 262 | 118 | |||
| 240 | 2450 | 294 | ||||||||
| 245 | 2530 | 310 | ||||||||
| 320 (310,320) | 520 | 240 | 2510 | 301 | 131 | |||||
| 250 | 2682 | 335 | ||||||||
| 260 | 2850 | 370 | ||||||||
| 340 (330,340) | 570 | 250 | 134 | 155 | 12 | M20×70 | 3120 | 389 | 186 | |
| 260 | 3300 | 426 | ||||||||
| 270 | 3430 | 463 | ||||||||
| 360 (350,360) | 590 | 280 | 140 | 159 | 3800 | 532 | 204 | |||
| 290 | 3970 | 575 | ||||||||
| 300 | 3990 | 599 | ||||||||
| 390 (380,390) | 650 | , 300 | 144 | 163 | 14 | M24×80 | 4260 | 640 | 820 | 250 |
| 310 | 4400 | 690 | ||||||||
| 320 | 4640 | 742 | ||||||||
| 420 (400,420) | 670 | 330 | 164 | 184 | 4770 | 787 | 300 | |||
| 340 | 5000 | 846 | ||||||||
| 350 | 5200 | 910 | ||||||||
| 440 (430,440) | 740 | 340 | 172 | 192 | 15 | 5500 | 935 | 400 | ||
| 350 | 5720 | 1000 | ||||||||
| 360 | 6000 | 1060 | ||||||||
| 460 (450,460) | 770 | 360 | 6050 | 1090 | 420 | |||||
| 370 | 6200 | 1150 | ||||||||
| 380 | 6500 | 1235 | ||||||||
| 480 (470,480) | 800 | 380 | 188 | 213 | M24×90 | 6560 | 1280 | 500 | ||
| 390 | 6750 | 1350 | ||||||||
| 400 | 6940 | 1420 | ||||||||
| 500 (490,500) | 850 | 400 | M27×90 | 7500 | 1480 | 1210 | 570 | |||
| 410 | 7720 | 1600 | ||||||||
| 420 | 7920 | 1720 | ||||||||
| 530 (520,530) | 910 | 430 | 213 | 238 | 17 | M27×100 | 8470 | 1880 | 740 | |
| 440 | 9000 | 2000 | ||||||||
| 450 | 9250 | 2120 | ||||||||
| 560 (550,560) | 940 | 450 | 8950 | 2020 | 770 | |||||
| 460 | 9350 | 2150 | ||||||||
| 470 | 9700 | 2280 | ||||||||
| 590 (580,590) | 980 | 470 | 228 | 260 | 18 | 10600 | 2500 | 900 | ||
| 480 | 11000 | 2650 | ||||||||
| 490 | 11450 | 2800 | ||||||||
| 620 (610,620) | 1020 | 500 | 254 | 286 | M30×110 | 11000 | 2740 | 1640 | 1080 | |

Z10型脹緊聯結套
掃描二維碼分享到微信