

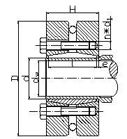
基本參數
| 基 本 尺 寸 | 內六角螺釘 | 額定負荷 | 螺釘的 擰 緊 力 矩 MA N·m | 重 量 kg | |||||||
| d | D | dn | L | H | e | d1 | n | 軸向力F1 KN | 轉矩 M1 KN·m | ||
| mm | |||||||||||
| 125 | 185 | 95 | 39 | 52 | 6 | M10×40 | 8 | 242 | 11.5 | 58 | 6 |
| 100 | 260 | 13 | |||||||||
| 105 | 276 | 14.5 | |||||||||
| 140 | 220 | 110 | 10 | 391 | 16 | 8 | |||||
| 120 | 330 | 20 | |||||||||
| 125 | 352 | 22 | |||||||||
| 155 | 245 | 130 | 12 | 385 | 25 | 10 | |||||
| 135 | 427 | 28.8 | |||||||||
| 140 | 464 | 32.5 | |||||||||
| 165 | 260 | 135 | 46 | 62 | 8 | M12×50 | 10 | 474 | 32 | 100 | 14 |
| 140 | 507 | 32.5 | |||||||||
| 145 | 538 | 39 | |||||||||
| 175 | 275 | 145 | 538 | 39 | 16 | ||||||
| 150 | 573 | 43 | |||||||||
| 155 | 606 | 47 | |||||||||
| 185 | 295 | 155 | 12 | 632 | 49 | 20 | |||||
| 160 | 662 | 53 | |||||||||
| 165 | 691 | 57 | |||||||||
| 195 | 315 | 165 | 56 | 72 | M12×55 | 15 | 800 | 66 | 27 | ||
| 170 | 835 | 71 | |||||||||
| 175 | 869 | 76 | |||||||||
| 220 | 345 | 180 | 66 | 84 | 9 | M16×65 | 9 | 978 | 88 | 240 | 35 |
| 190 | 1063 | 101 | |||||||||
| 200 | 1140 | 114 | |||||||||
| 240 | 370 | 200 | 12 | 1200 | 120 | 44 | |||||
| 210 | 1276 | 134 | |||||||||
| 215 | 1312 | 141 | |||||||||
| 260 | 395 | 220 | 72 | 92 | M16×70 | 1309 | 144 | 48 | |||
| 230 | 1384 | 159 | |||||||||
| 235 | 1421 | 167 | |||||||||
| 280 | 425 | 230 | 84 | 104 | 10 | M16×75 | 15 | 1478 | 170 | 60 | |
| 240 | 1583 | 190 | |||||||||
| 250 | 1680 | 210 | |||||||||
| 300 | 460 | 250 | 16 | 1704 | 213 | 75 | |||||
| 260 | 1800 | 234 | |||||||||
| 270 | 1889 | 255 | |||||||||
| 320 | 495 | 270 | 106 | 11 | M16×80 | 18 | 1955 | 264 | 84 | ||
| 80 | 2036 | 285 | |||||||||
| 290 | 2076 | 301 | |||||||||
| 340 | 535 | 290 | 20 | 2193 | 318 | 100 | |||||
| 300 | 2300 | 345 | |||||||||
| 305 | 2354 | 359 | |||||||||
| 360 | 555 | 300 | 100 | 122 | M20×90 | 15 | 2547 | 382 | 470 | 125 | |
| 310 | 2645 | 410 | |||||||||
| 320 | 2738 | 438 | |||||||||
| 390 | 595 | 330 | 112 | 136 | 12 | M20×100 | 18 | 3091 | 510 | 156 | |
| 340 | 3194 | 543 | |||||||||
| 350 | 3291 | 576 | |||||||||
| 420 | 630 | 350 | 120 | 144 | 20 | 3371 | 590 | 185 | |||
| 360 | 3500 | 630 | |||||||||
| 370 | 3620 | 670 | |||||||||
| 460 | 685 | 390 | 132 | 158 | 13 | M20×110 | 24 | 3949 | 770 | 470 | 235 |
| 400 | 4300 | 860 | |||||||||
| 410 | 4634 | 950 | |||||||||
| 500 | 750 | 420 | 152 | 178 | M20×120 | 30 | 4881 | 1025 | 320 | ||
| 430 | 5233 | 1125 | |||||||||
| 440 | 5568 | 1225 | |||||||||
| 注:Z7A型脹緊聯結套螺釘的機械性能等級為10.9級。 | |||||||||||
Z7型脹緊聯結套
掃描二維碼分享到微信